天眼查法律诉讼信息显示,3月12日至13日,融创房地产集团有限公司新增14条被执行人信息,执行标的合计14.9亿余元,涉及公司债券交易纠纷、票据追索权纠纷、票据付款请求权纠纷等,部分案件被执行人还包括济南万达城建设有限公司、北京融创恒基地产有限公司等,执行法院包括上海金融法院、重庆市合川区人民法院、昆明市西山区人民法院等。
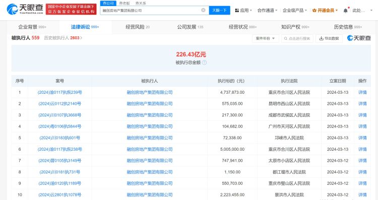
风险信息显示,融创房地产集团有限公司现存550余条被执行人信息,被执行总金额超226亿元。此外,该公司还存在多条限制消费令、失信被执行人(老赖)和终本案件信息。



天眼查法律诉讼信息显示,3月12日至13日,融创房地产集团有限公司新增14条被执行人信息,执行标的合计14.9亿余元,涉及公司债券交易纠纷、票据追索权纠纷、票据付款请求权纠纷等,部分案件被执行人还包括济南万达城建设有限公司、北京融创恒基地产有限公司等,执行法院包括上海金融法院、重庆市合川区人民法院、昆明市西山区人民法院等。
风险信息显示,融创房地产集团有限公司现存550余条被执行人信息,被执行总金额超226亿元。此外,该公司还存在多条限制消费令、失信被执行人(老赖)和终本案件信息。


